新车谍报 历史单月产量最高 特斯拉2022年Q2交付报告发布
历史单月产量最高 特斯拉2022年Q2交付报告发布2022年7月2日,特斯拉发布2022年第二季度交付报告。尽管经历了供...……
新车谍报 “人其实一辈子都在重复自己” | 汽车人的本命年
“人其实一辈子都在重复自己” | 汽车人的本命年“我是属于经常一个人琢磨的那种人。”“我喜欢在家陪陪家人,歇着,自己想想...……
新车谍报 特斯拉加速加州扩张!租赁惠普办公园区
特斯拉加速加州扩张!租赁惠普办公园区盖世汽车讯 据外媒报道,上周,特斯拉首席执行官马斯克宣布,特斯拉正式将总部从加州迁至...……
新车谍报 人保车险丨车险到期没续费会有什么后果?
车险到期没续有很多种原因,可能是车主因为忘记当初投保的具体日期,错过了规定续保的期限;或者存有侥幸心理,想着自己驾驶技术...……
新车谍报 人保车险|车借给朋友出了事故,车险赔么?
老赵的朋友借了他的车出去办事,没承想却发生了交通事故,朋友还是主要肇事方。老赵挺着急,心想“车借给了别人出事故,车险能不...……
新车谍报 人保车险|一秒读懂新能源汽车保险?
1.新能源汽车保险的承保范围:除了涵盖车辆损失险、第三者责任险、车上人员责任险等传统主险种外,还包括了动力电池系统损失保...……
新车谍报 美国研究人员发现机器人汽车有望改善交通 推动完全自主交通的发展
美国研究人员发现机器人汽车有望改善交通 推动完全自主交通的发展盖世汽车讯 据外媒报道,美国田纳西大学(Universit...……
新车谍报 i-PRO推出新款车载后视/侧视摄像头 具有边缘AI人员探测功能
i-PRO推出新款车载后视/侧视摄像头 具有边缘AI人员探测功能盖世汽车讯 据外媒报道,当地时间8月2日,i-PRO A...……
新车谍报 Sure Antennas为配备Airmax车载信息系统的车辆提供天线产品
Sure Antennas为配备Airmax车载信息系统的车辆提供天线产品盖世汽车讯 据外媒报道,高性能车载天线解决方案...……
新车谍报 Karma推出汽车数据管理与OTA服务平台 可提升车载体验
Karma推出汽车数据管理与OTA服务平台 可提升车载体验盖世汽车讯 据外媒报道,当地时间7月31日,加州超豪华汽车制造...……
新车谍报 香港理工大学开发出仿生视觉传感器 可以检测光谱上的独特特征
香港理工大学开发出仿生视觉传感器 可以检测光谱上的独特特征盖世汽车讯 具备在光线不利的环境中(例如在夜间、阴影位置或雾天...……
新车谍报 研究人员开发出视觉语言框架 可帮助机器人抓取未曾见过的新物体
研究人员开发出视觉语言框架 可帮助机器人抓取未曾见过的新物体盖世汽车讯 要在广泛的现实世界动态环境中部署,机器人必须具备...……
新车谍报 麻省理工学院引入新方法 允许机器人在扫描的家庭环境模拟中接受训练
麻省理工学院引入新方法 允许机器人在扫描的家庭环境模拟中接受训练研究人员希望找到一种解决方案,以便轻松训练出适合特定环境...……
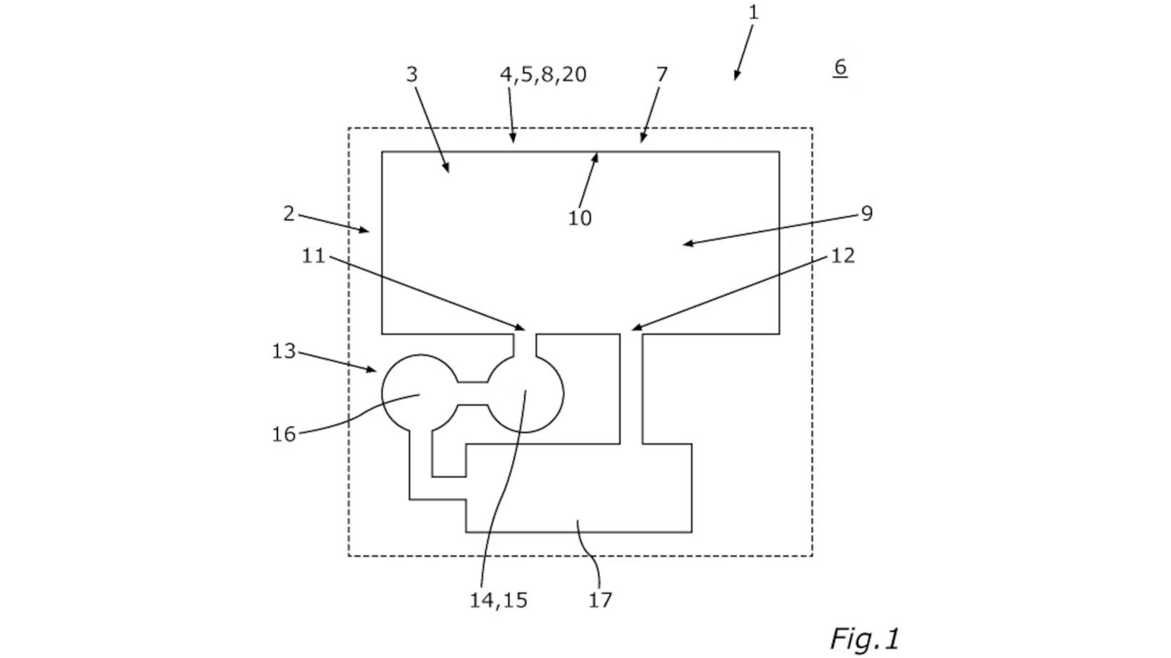
新车谍报 宝马申请创新充气式扰流板专利 扩大自适应空气动力学的潜在优势
宝马申请创新充气式扰流板专利 扩大自适应空气动力学的潜在优势宝马(BMW)向德国专利商标局(DPMA)申请了一项充气空气...……
新车谍报 Sondrel优化SFA 100架构平台 适合边缘AI应用
Sondrel优化SFA 100架构平台 适合边缘AI应用SFA 100是该公司“Architecting the Fu...……













